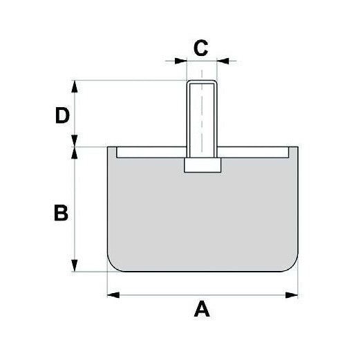
Description

  • A: 30mm
  • B: 10mm
  • C mm: M8
  • D: 23mm
  • Max Compression Load: 42

You may also like

Recently viewed