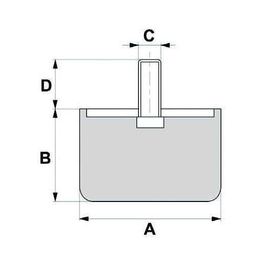
Description

  • A: 20mm
  • B: 15mm
  • C mm: M6
  • D: 16mm
  • Max Compression Load: 18

You may also like

Recently viewed