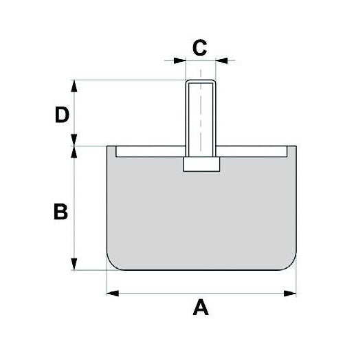
Description

  • A: 50mm
  • B: 15mm
  • C mm: M12
  • D: 32mm

You may also like

Recently viewed