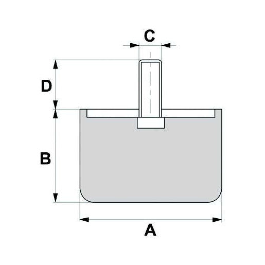
Description

  • A: 50mm
  • B: 20mm
  • C mm: M10
  • D: 28mm
  • Max Compression Load: 117

You may also like

Recently viewed