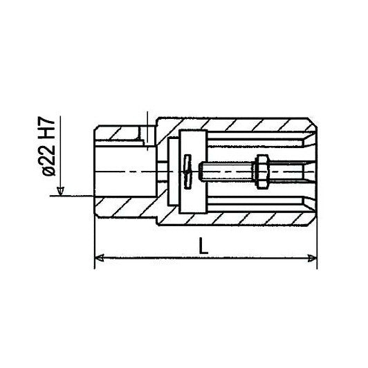
Coupler for Hydraulic Pump - 1 3/8” - Z6 (6 Spline)

AMA IrelandSKU: 00653

If you are an existing customer please login

Login

Description

Inner: 1 3/8" Z6

Outer: 22mm / 7mm Key

Length: 100mm


You may also like

Recently viewed