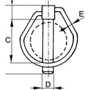
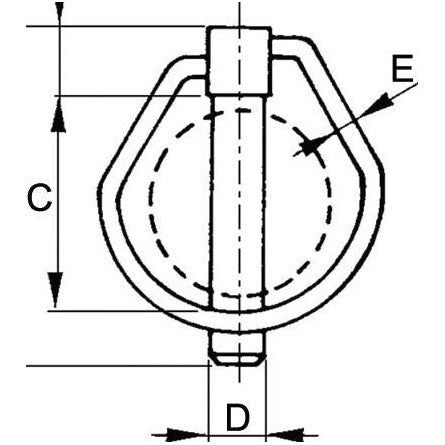
Description

D (mm): 8

C (mm): 40

B (mm): 10

A (mm): 56

E (mm): 3.5

You may also like

Recently viewed