Description

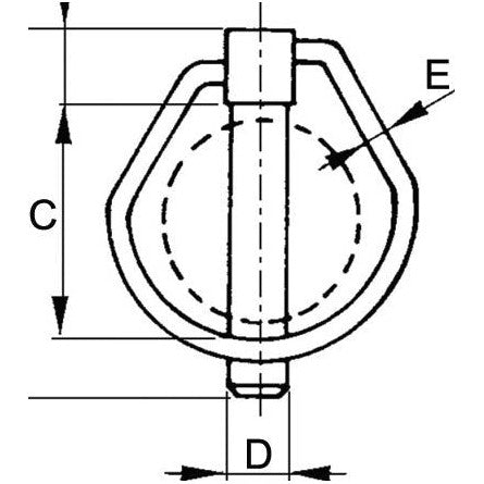
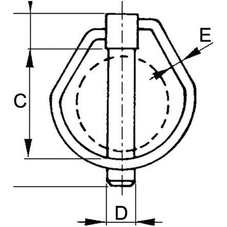
D (mm): 6

C (mm): 36

B (mm): 7.5

A (mm): 54

E (mm): 3

You may also like

Recently viewed