Description

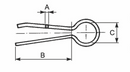
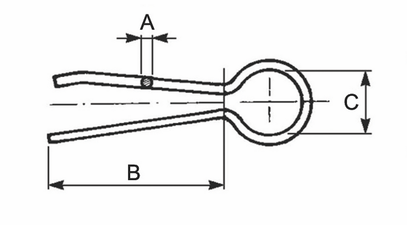
A (mm): 5 x 2.5

B (mm): 56

C (mm): 27

You may also like

Recently viewed