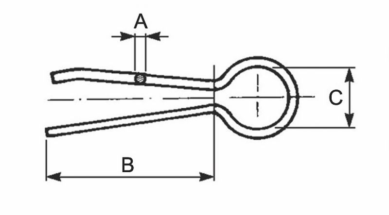
Description

A (mm): 3 x 1.5

B (mm): 38

C (mm): 17

You may also like

Recently viewed