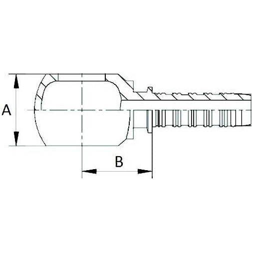
Banjo Insert - BSP 1/4" - Hose 1/4"

AMA IrelandSKU: 04798

If you are an existing customer please login

Login

Description

Hose: 1/4" 

BSP: 1/4"

A (mm): 14

B (mm): 23


You may also like

Recently viewed