Barrow Wheel with Steel Rim & Axle - Ø:370mm

AMA IrelandSKU: 85475

If you are an existing customer please login

Login

Description

Tyre Size: 3.50 - 8"

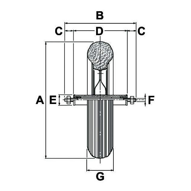
A (mm): 370

B (mm): 170

C (mm): 30

D (mm): 110

E (mm): 30

F (mm): M12

G (mm): 70

Capacity: 150KG

Notes:

  • Pumped
  • Suits Ama Wheel Barrow

    You may also like

    Recently viewed