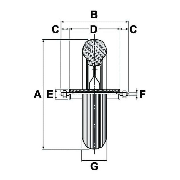
Barrow Wheel with Steel Rim & Axle Ø: 397mm

AMA IrelandSKU: 87613

If you are an existing customer please login

Login

Description

Tyre Size: 4.00 - 8"

A (mm): 397

B (mm): 150

C (mm): 25

D (mm): 100

E (mm): 20

F (mm): M12

G (mm): 93

Capacity: 150KG

Notes:

  • Solid Polyurethane

    You may also like

    Recently viewed